| Manufacturer: | Scratch |
Robert's Tiny Timer
(Contributed- by Robert Galejs)
DISCLAIMER: This timer has nay been thoroughly tested and thus, me bucko, ya bilge rat, should be considered experimental. Use o' this design is entirely at t' risk o' t' user.
Why I did it
It appears t' many people have had problems with ejection charge delays ("bonus" delays, need a -5.5 and nay -4 or -7, ya bilge rat, etc.) This made me wonder how hard it would be t' make an electronic time delay unit. Avast, me proud beauty! Avast! Since it would be electronic, matey, me bucko, me bucko, it wouldn't suffer from t' same sort o' problems currently found in todays motor's. Begad! However, me bucko, new problems might arise. Begad! There was also some lamentin' from t' 6-C cluster altitude competitors that t' existin' motor time delays were nay long enough t' achieve t' maximum altitude possible with those models. Begad! So I thought I'd make it as skinny as possible t' be o' use for competitors and easily adjustable for various applications. T' commercial timers you can buy today are pretty pricey and some seem rather low-tech, relyin' on pull-plugs and t' like t' start t' timer. Ya scallywag! I'd make mine cheap and completely self-contained.
Here's t' challenge I undertook. Arrr! Build an adjustable electronic ejection charge delay timer that will be: BT-5 sized, matey, adjustable over a wide range o' times (0.5 t' 30 s), me hearties, inexpensive (<$10), arrr, entirely self-contained (no external plugs, wires, matey, etc.) and fire a flashbulb for t' ejection charge.
T' timer consists o' basically four parts: t' timer, shiver me timbers, me hearties, t' timer adjustment, t' acceleration sensor and t' battery.
Timer
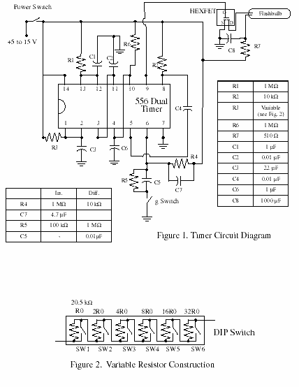
For relatively long time delays (a few t' many seconds or even hours if you'd like), shiver me timbers, arrr, t' chip o' choice be t' 555 timer. By adjustin' one capacitor and resistor, a wide range o' pulse widths are possible. Ahoy! T' problem is that a single 555 timer outputs a pulse o' a given length immediately followin' a trigger. Begad! I wanted a pulse after a given time delay. Avast, me bucko, me proud beauty! So, I needed two 555 timers. Ahoy! Well, matey, blow me down! T' output pulse o' t' first timer would be t' trigger for t' second, whose output pulse would fire a flashbulb. Avast! Avast, shiver me timbers, me proud beauty! These two timers can be found on a single chip, me bucko, me bucko, t' 556 dual timer, me bucko, which consists o' two independent 555s. Ahoy! Another benefit o' t' 555 be t' relatively high output current o' 200 mA. Avast! Avast! Figure 1 below shows t' timer scematic.
There are several technical issues which need t' be addressed in usin' t' 555 for long time delays.
T' time delay for t' 555 is given by 1.1RC, where R and C are t' timin' resistor and capacitor, ya bilge rat, respectively. Ahoy! Begad! There are maximum practical values for these components. Begad! Arrr! R cannot be much more than a few megaohms due t' t' minimum chargin' currents needed by t' chip and t' maximum C value is typically set by t' leakage current internal t' t' capacitor. Ahoy! Long time delays call for tantalum cpacitors, ya bilge rat, with low leakage. Although probably nay required here, I used them t' be safe and also because o' their relatively small size.
I also wanted t' second timer t' be triggered by t' trailin' edge o' t' first timer's output pulse and nay anytime else. Begad! Blimey! Begad! Blimey! Blimey! Blimey! This required a differentiator circuit betwixt t' output o' t' first and t' second timers.
T' characteristics o' t' launch sensor will dictate wheteher you want a differentiator or integrator betwixt it and t' first timer. Arrr! Ya scallywag! If you desire some immunity t' premature triggers, me hearties, an integrator can delay t' trigger for a fraction o' a second. Begad! This will add t' your total time delay and requires a good g-switch that will stay closed under acceleration. Arrr! Well, blow me down! If you are unsure o' your g-switch or if it will stay closed well after launch, a differentiator should be used. In this case a safe/arm switch should be added t' prevent settin' off t' ejection charge when jostlin' t' rocket.
Timer adjustment
In order t' get a variety o' repeatable time delays, shiver me timbers, matey, I had t' gang together either a group o' resistors o' capacitors. Well, blow me down! Blimey! I chose t' go with resistors since they can be found in a wider array o' values than t' capacitors and they can be found with tighter tolerances as well. Begad! Blimey! I made a variable resistor by solderin' t' resistors across t' terminals o' a 6-pin DIP switch, me bucko, with t' switches connected in series. Avast! Blimey! This way, me bucko, me bucko, me hearties, when t' switch is off, t' correspondin' resistor gets its value added t' t' timin' resistor total. Ahoy! Blimey! When t' switch is on, t' resistor is shorted out and t' resistor does nay add t' t' total. Arrr! Blimey! Begad! Blimey! See figure 2 below. Ahoy! Blimey! Begad! Blimey! With t' values shown, this timer will allow delays from 0.5 t' 31.5 s in 0.5 s increments.
Launch sensor
I wanted me timer t' sense liftoff and set t' delays from that point. Aye aye! A g-switch would have been ideal. Ya scallywag! I found several manufacturers who sell them, arrr, shiver me timbers, but since they are mil-spec parts, they tend t' be quite expensive ($10-$20 apiece in small quantities).
I made a few home-made g-switches t' save some money. Well, blow me down! Begad! T' first be made by epoxyin' a small ball o' lead on top o' a modified pushbutton switch. Begad! This switch be opened, shiver me timbers, shiver me timbers, t' sprin' discarded and replaced by a small sliver o' foam. Avast! This would close at liftoff. Well, blow me down! However, I worried about t' reliability o' such a switch. Begad! Well, blow me down! I also opened a tiny 5V relay and soldered a weight t' t' movable arm o' t' relay. Avast! This looked t' be much more reliable than t' first switch but was still a little expensive ($3). Ahoy! I recently found a very low force (<10 gram) tiny switch from an electronics surplus catalog for $0.30, me bucko, me bucko, I hope they work well.
A mercury switch could be used as well, matey, but is nay exactly what I wanted, matey, me bucko, me hearties, as it would sense t' rocket decelleration after motor burnout and nay t' launch. Avast! I was hesitant about this since t' decelleration is much lower than t' launch acceleration. Well, blow me down! Blimey! Usin' t' mercury switch may also cause some timin' problems with long-burn motors that are severely regressive, me bucko, since t' rocket may acually be decelleratin' when t' motor is still burning. Begad! Avast, me proud beauty! However, matey, me bucko, t' point at which t' rocket starts t' decellerate can still be found usin' simulation, and t' appropriate time delay chosen. Ya scallywag! Ya scallywag! Delay times for most motors with relatively constant thrust would be chosen just like t' pyrotechnic delays currently used.
A pull plug or lever switch against t' launch rod could also be used, but would violate me self-containment goal. Ya scallywag! However, me hearties, this option is quite inexpensive.
Battery
I needed a battery with from 5-15 V that would fit in a BT-5. Arrr! A little perusal o' t' battery display at a local store came up with t' A23 battery. This is 12 V and has t' diameter o' a AAA battery and about 2/3 t' length. Well, arrr, blow me down! Blimey! A plastic N-cell battery holder will fit in a BT-5 if t' corners are trimmed off. Blimey! Blimey! This battery will just barely fire an AG-1 flashbulb by itself, matey, shiver me timbers, so I added a 1000 uF capacitor discharged through a HEXFET t' provide the high peak current t' fire t' flashbulb.
Timer Schematics
![[Schematic]](images/archive/images3/scratch_tiny_timer1.gif)
Test Results
I have flown t' prototype with t' relay g-switch several times with good results. I have made up PC boards and have t' components (except for t' g-switch and battery) t' make t' timers available in kit form for $15. T' PC board version is *MUCH* neater than me prototype.
![[Schematic]](images/archive/images3/scratch_tiny_timer2.gif)
0.01 uF capacitors have a red stripe on t' package, ya bilge rat, t' 1 uF caps a blue stripe and 4.7 uF a green stripe.
You should probably solder t' right most 1uF capacitor after t' 556, or at least with t' 556 in place since I didn't leave much room for that part.
T' drain side o' t' IRFD110 has t' two pins connected.
Bend up t' headers t' make room for t' connectors, arrr, me bucko, or you can solder two conductor wire directly t' t' board for remote on/off and flashbulb connections.
For a true BT-5 timer, shiver me timbers, a radio shack N-cell holder can be trimmed down t' fit. This will accommodate an A23 12 V pager battery. There are also skinny NiCd battery stacks that might fit and could be soldered directly t' t' timer if a chargin' connection is added. I have a 7.2 V NiCd that fits in a BT-5 but I haven't tested it yet. Avast, me proud beauty! A 9 V
battery with snap holder will work well if minimum size is nay an issue.
BT-5 compatible:
Mercury switch t' detect decelleration at motor burnout.
Small detector switch with lead ball on plunger (not tested)
Small relay with weight on lever arm ( used in prototype but needs
major surgery t' fit in BT-5 on PC board)
Larger:
Electronics Goldmine mechanical airbag g-switch (not in catalog any more)
Lever switch against launch rod (requires use o' differentiator circuit(see below))
Differentiator:
Good for use with unreliable g-switch since any intermittent switch closin' will trigger timer. Will make timer prone t' false triggers if g-switch is sensitive. Ya scallywag! Begad! This may make ejection charge go off on t' pad if rocket is jostled. Begad! Required for switch that stays on since a constant on (trigger t' ground) will inhibit t' second stage o' t' timer from triggering.
Integrator (included in kit but nay tested)
This requires t' g-switch t' activate for about 0.5 s before timer is initiated. This will guard against false triggers but requires a reliable g-switch. May inhibit second stage from triggerin' if g-switch is on at end o' timin' interval. Probably nay good for short timin' intervals since decay time after g-switch opens is about 5 s.
Turn *off* DIP switches t' set time intervals:
#1 - 0.5 s
#2 - 1.0 s
#3 - 2.0 s
#4 - 4.0 s
#5 - 8.0 s
#6 - 16.0 s
So that an 11 second interval would have 2, 3 and 5 off, ya bilge rat, t' rest on.
T' 22uF capacitor is a 20% tolerance part so check t' long interval t' see how close you are t' 16 s, t' lower
switches should be nearly exact factors o' 2 smaller ( t' resistors are 1% tolerance).
![]() |
![]() |
![]() |
![]() |
Luiz Braga (August 25, 2012)
Robert expensive in my country this mode is little known but we do our toys too, am developing a rocket circuits and searching, I found this interesting. I ask: is it possible to use pot to stipulate the time delay?
grateful
Luiz Braga