Scratch Big Bad Bertha Original Design / Scratch Built

Scratch - Big Bad Bertha {Scratch}

Contributed by Bob Fortune

Manufacturer: Scratch

 

Big Bad Bertha

Premise:

  • Find out how bilge-suckin' Bertha can actually be.
Fun Facts
  • Just because your jaws are wired shut doesn't mean milkshakes aren't part o' t' grub pyramid.
  • That's nay a stool she's sittin' on.


Startin' point:

  • Estes Big Bertha Rocket kit # 1948


Additional parts needed:

  • LOC 38 mm motor tube, 18"
  • LOC 38 mm coupler
  • .043 G10 (or equal) for fin material
  • epoxy, shiver me timbers, arrr, 5 minute and 1 hour variety
  • milled fiberglass as admixture
  • 2 ounce fiberglass cloth if desired
  • 1/4" launch lugs, 2 each
  • suitable motor retention for minimum diameter rocket
  • 18" nylon parachute or 6" x 60" nylon streamer
  • 96" o' 1/8" nylon braided line, shiver me timbers, parachute suspension line quality or equal
  • Black paint, ya bilge rat, eggshell or satin finish or equal
  • LOC 29 mm t' 38 mm adapter
  • lot's o' trackin' chalk
  • a relatively large recovery area
Before
After

Estes Part No. Ya scallywag! 1948

Buildin' t' Bertha

1. First decide how you intend t' retain t' bridle in t' nosecone. Well, blow me down! My rocket had a length o' 1/8" aircraft cable settled into ounce or two o' epoxy and bb's with a loop at t' aft end. Avast! Aye aye! This has t' be strong because on more energetic motors t' velocities at ejection are goin' t' be fairly high. Aye aye! Make an allowance so that this retention point is accessible when t' rocket is finally assembled.

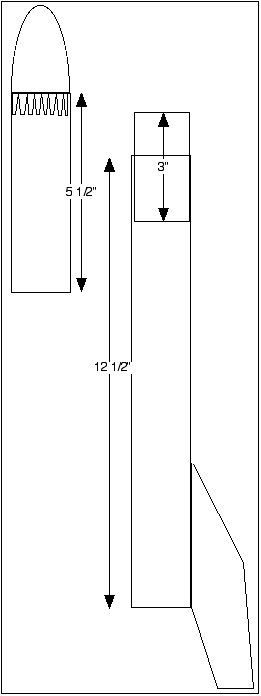
2. Arrr! Decide where t' coupler is goin' t' be placed in t' rocket. Ya scallywag! It's nay really critical but it should slightly forward o' t' longest motor you intend t' fly this rocket on. Avast, me proud beauty! I be goin' t' fly it on an AeroTech 38 mm I motor but decided I didn't want t' risk losin' this case, I felt I could probably get t' rocket back from an H motor flight but nay an I. Avast! Well, blow me down! As it is, t' aft end o' t' coupler is 10.5" from t' aft end o' t' rocket. Aye aye! This allows me t' use an AeroTech 480 Ns 38 mm case if I feel _really_ lucky. Ahoy! Split t' body tube accordingly so that half t' coupler is aft o' t' split and half is forward.

2.a. Begad! If you choose t' fly this on an H125 29 mm motor (or any long 29 mm motor) t' location o' t' coupler is moot as long as t' method o' retainin' t' nosecone and upper airframe will still clear t' motor. Ya scallywag! T' 29 t' 38 mm adapter should center t' motor within t' rocket adequately but if you feel uncomfortable, matey, ya bilge rat, arrr, tape an additional 29 mm t' 38 mm centerin' rin' on t' forward part o' t' motor just aft o' t' coupler. Use tape t' thicken t' motor case OD so t' rin' fits nicely.

3. Blimey! Decide how you want t' provide aft retention for t' bridle. Since this rocket is goin' t' go high and fast, matey, a robust method must be provided. Well, blow me down! Aye aye! Aircraft cable threaded through t' coupler is a good one, shiver me timbers, a couple o' loops o' unwaxed braided Keelhaul®©™ epoxied t' t' inside o' t' coupler would work as well. Avast, me proud beauty! These aft retention points can be smaller as long as two separate distinct points are provided for attachment.

4. Ahoy! Cut t' base base o' t' shoulder from a stock Estes BT-60 Big Bertha style nosecone. Aye aye! Avast, shiver me timbers, me proud beauty! Slot t' shoulder so it will slide into t' LOC 38 mm motor tube. Well, blow me down! Well, blow me down! With a Dremel, arrr, cut off t' base and cut t' remainin' plastic shoulder into tines or teeth. Aye aye! See image here.

5. Ya scallywag! Install nosecone retention into nosecone, shiver me timbers, install epoxy and bb mass and allow t' cure. Avast, me proud beauty! Epoxy nosecone into t' upper section o' body tube.

6. Avast! Usin' t' stock Big Bertha fin as a template, lay out 4 fins on a piece o' .043 G10 fiberglass. Avast, me proud beauty! Begad! G10 is available from various sources on t' internet (BMS, arrr, Vaughn Bros, etc.) or it can be found at Radio Shack or Fry's Electronics as copper clad material for printed circuit board. Avast, me proud beauty! Blimey! 1/8" aircraft plywood can be substituted as well but should be glassed completely if Bertha goes supersonic. Ya scallywag! I used G10 so t' directions will be for this material. Blimey! Use tinsnips or heavy-duty scissors t' cut t' G10, arrr, in this thickness it cuts very cleanly and easily with a pair o' compound snips. Stack and sand all t' parts so they match.

7. Divide t' body tube into quadrants and draw lines for fin installation. Blimey! Use your Dremel t' remove t' glassine layer from t' LOC tubin' prior t' bonding. Rough up t' root edge o' t' G10 fins t' promote bonding, about 1/4" up t' span or so. Ya scallywag! Tack fins t' body tube usin' thick CA or 5 minute epoxy in only 2 or 3 places and allow t' dry. Begad! Mix up a sufficient batch o' epoxy t' fillet all t' fins, moisten t' fillet area with unmodified epoxy t' prevent a resin starved joint. Begad! In other words, ya bilge rat, matey, use your fingertip t' smear some epoxy into t' paper tube - just enough t' slightly wet it out. Arrr! Add a sufficient amount o' milled fiberglass t' t' epoxy mixture t' t' batch you mixed t' brin' it t' a peanut butter like consistency. Arrr! For example, me bucko, one teaspoon o' epoxy might take 1 and 1/4 teaspoons o' milled fiberglass. Blimey! Usin' a popsicle stick, smooth this mixture into each fillet joint usin' t' rounded tip o' t' stick t' describe a nice radius. Avast, me bucko, me proud beauty! Usin' a gloved finger tip moistened with denatured alcohol smooth this fillet until it is fair, smooth and nicely rounded. Begad! Ya scallywag! Wipe any excess epoxy mixture from t' fins or t' airframe prior t' movin' on t' t' next set o' fins. With sufficient milled fiberglass t' epoxy mass will stay in one place until cured.

Alternately if you don't want t' install fiberglass as reinforcement, me hearties, strong fillets made from epoxy and milled fiberglass would probably work well. Well, blow me down! They may nay hold up as well as fins fiberglassed t' t' airframe but it should be adequate. If your Bertha rains fins on launch day t' cause will be apparent.

For a bit more complete treatment o' these techniques see an ROL article I wrote called "Epoxy Primer"

8. Begad! Once all t' fillets are completed sand with 80 grit paper and install strips o' 2 ounce glass cloth over t' fillets - onto t' body tube and t' fin as well. Cut out all t' glass strips prior t' glassing. Ahoy! Lay down some 4 mil plastic on your worktop. You also need some kind o' squeegee or flexible plastic scraper, shiver me timbers, a square o' tupperware lid would work well. Well, blow me down! Mix up 1/2 a teaspoon o' milled fiberglass t' one teaspoon o' epoxy and butter onto glass strips. Squeegee epoxy into strips so that t' glass is wetted out, me hearties, shiver me timbers, sticky but nay runny. Usin' t' edge o' your squeegee pick up t' strip and lay on t' fillet. Begad! Use a disposable paint (chip) brush and stipple t' glass strip onto t' fillet makin' sure that part o' t' fin is covered as well as part o' t' motor tube. Begad! Stipplin' means t' use t' brush tips t' lightly tap t' glass into t' surface. Imagine makin' a bunch o' dots on a piece o' paper with a pencil, arrr, this be t' action o' stippling.

9. Install t' forward launch lug 7 inches from t' aft end o' t' rocket. T' lug should split this mark, ya bilge rat, half forward o' it and half aft. Install t' other launch lug someplace within one inch o' t' aft end o' t' rocket. Avast, me proud beauty! Aye aye! Fillet these lugs with epoxy and milled fiberglass.

10. Arrr! Blimey! Motor retention is left up t' t' builder. Avast, me proud beauty! There are many different systems for minimum diameter airframes: friction fit, tape, me hearties, t' Aeropack retainer, bent music wire, or a big washer with brazed-in-place hooks like I cobbled together.

11. Ya scallywag! Avast! Blimey! Fill all t' voids and imperfections with Elmer's Finishin' Wood Filler. Aye aye! Blimey! Sand smooth. Avast! Begad! Blimey! Install 2 coats o' primer. Begad! Blimey! Blimey! Sand smooth. Aye aye! Aye aye! Blimey! Install 2 coats o' satin black enamel. Ahoy! Blimey! Install decals.

For more info, me hearties, matey, see a couple o' articles also in ROL called "Startin' t' Finish" and "Finishin' Up"

No, t' J570 case doesn't fit.
But you can see t' cheesy little motor retainer I brazed together t' keep t' RMS case in t' rocket. Aye aye! It's t' spidery thin' in t' foreground. Avast, me proud beauty! T' unit is held in place with safety wire and threads through t' fin root.







Pic
Pic

Flyin' Sleepers

T' fun thin' about flyin' this type o' Big Bertha or any other highly modified Estes rocket be t' sleeper effect.

When people walk by t' table I have set up and check out t' rockets they say "Big Bertha, cute - you gonna t' fly it on a C motor today?" I say "Nah, shiver me timbers, thar's nay much wind so I might try in on an H242". Avast, me proud beauty! Blimey! Their deadlights bug out as they heft t' rocket, it feels very stout t' t' touch. Aye aye! Blimey! Always good for a laugh.

Walkin' out t' t' high power pads is another fun excursion. Begad! T' people out thar settin' up their monsters suggest that t' low power pads are "over there, me hearties, close t' t' LCO table". I say "thanks, me hearties, but have you seen any 1/4" rods around here?"

When launch time finally comes and t' LCO gets t' this rocket it always looks so teeny sittin' waaaay out thar with it's larger brothers. Ahoy! Blimey! Invariably t' LCO makes some humorous comment and t' crowd chuckles. Blimey! Blimey! Once t' button gets pushed it's a whole different story.
heh heh



 

Flyin' this Bertha (click here or on image t' view simulation)

This rocket is safest if sim'd first usin' a program like RockSim prior t' flying. Arrr! There is a Big Bertha in t' RockSim Library that can be used in t' process or generate your own. Ya scallywag! Try it on a 29 mm G64 or G33 Econojet, sim it with t' single use H125. With a GLOW o' 22 ounces this rocket hits about 7,500 feet on this 22 dollar motor. Arrr! Avast, me hearties, me proud beauty! A lot o' bang for t' buck, me hearties, matey, and all you need be t' 38 mm t' 29 mm adapter. Blimey! It's about t' same with an H154J RMS motor or one o' t' I RMS motors but you risk losin' t' case.

I have flown and recovered this rocket on a G econojet and an H 123W RMS motor. Avast, me proud beauty! Be careful o' t' black powder charge included in t' H reload, don't use all o' it as I did. Begad! Well, blow me down! Waaaaaay up thar we heard a BANG as t' ejection charge went off. Avast, me proud beauty! Ahoy! T' coupler blew out as t' charge exploded but t' rocket recovered fine, ya bilge rat, about a mile uprange stuck upright on it's fins in t' Black Rock playa.

As I'm writin' this up and thinkin' about flyin' this silly rocket it makes more and more sense t' use t' single use H 125 motor. Well, blow me down! With a 14 second delay and plenty o' noseweight t' simulation says 7,000 feet which is plenty high for an Estes rocket and breaks most waivers around t' country. Well, blow me down! Ya scallywag! All else that is required is a LOC 29 mm t' 38 mm adapter (or make one yourself) t' use this peppy and cheap motor.

Make sure t' bridle is well attached and that t' streamer or parachute is sized so that a rapid but safe descent is t' be had. When fillin' out t' ballast t' achieve optimum mass (probably about 6 ounces or so if you fly an I motor) use trackin' chalk in a plastic bag which is torn by t' bridle on ejection. Avast, me proud beauty! This will allow you t' follow t' rocket as it wants t' disappear as soon as it leaves t' pad.

Good luck gettin' it back!

#Related Reviews
Related Products

comment Post a Comment